Solido MS
Solido MS soddisfa praticamente ogni esigenza del cliente su misura, lasciando inoltre spazio a un tocco personale. Separazione temporanea, unione momentanea, rivestimento rapido: tutto è possibile. I sistemi divisori scorrevoli solido, perfettamente studiati, offrono possibilità di impiego multifunzionali. Dal punto di vista estetico arricchiscono gli ambienti come oggetti di design con tutte le possibilità di configurazione – dal tipo e dal colore dei pannelli alla suddivisione ottica delle superfici tramite montanti. Dal punto di vista funzionale offrono il massimo comfort. Scorrevoli e praticamente silenziosi, si integrano con discrezione in qualsiasi ambiente. Che siano inseriti in una tasca a muro, a soffitto o davanti a una parete, sono tecnicamente perfetti. Alluminio di alta qualità, eleganti finiture – anodizzato naturale, anodizzato nero o verniciato a polvere bianco RAL9010 – e una tecnologia sofisticata rendono questi sistemi dei veri e propri tuttofare.
Varianti di applicazione

Caratteristiche del prodotto
Scorrimento inferiore con guida a rulli superiore
Ammortizzatore di chiusura invisibile opzionale
Peso massimo delle ante: fino a 100 kg
Possibilità di ampliare il sistema a piacere
Alluminio di alta qualità
4 modelli di profili con maniglia tra cui scegliere
Possibilità di suddividere la superficie con traversini
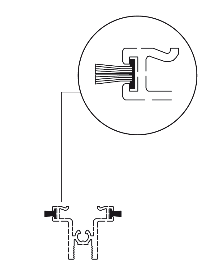
Pannelli
Pannelli decorativi da 8 mm
Senosan lucido da 8 mm
Vetro 4/6/8 mm
Pannello truciolare per mobili
Fenix
Indicazioni di progettazione
Variante professionale BASIC altezza massima della stanza 2.750 mm / larghezza massima della porta 2.000 mm
Variante professionale PRO altezza massima della stanza 3.500 mm / larghezza massima della porta 2.000 mm
Variante professionale BAL altezza massima della stanza 2.750 mm / larghezza massima della porta 2.000 mm
Pesi delle porte realizzabili fino a 100 kg
Fissaggio a scelta a soffitto o a parete
Guida a 1 o 2 binari
Guida a soffitto/a pavimento a 1 o 2 binari
Tipo di guida a pavimento: a vista o incassata, con o senza profilo di copertura
Consegna
Sfusi in pacchi o assemblati su pallet
Profili di base

Guida (DS 61 e DS 48)


Profili di inserimento e montaggio a parete




Binario di scorrimento a vista e incassato


Profilo di copertura a vista e incassato


Accessori
